Parts Catalog
Truck Castings
Tools
Spring Calculator
Spring Groups
Identify a Part
Contact
Sign in
Register
Catalog
› Handholds / Grab Irons
Handholds / Grab Irons
1 part
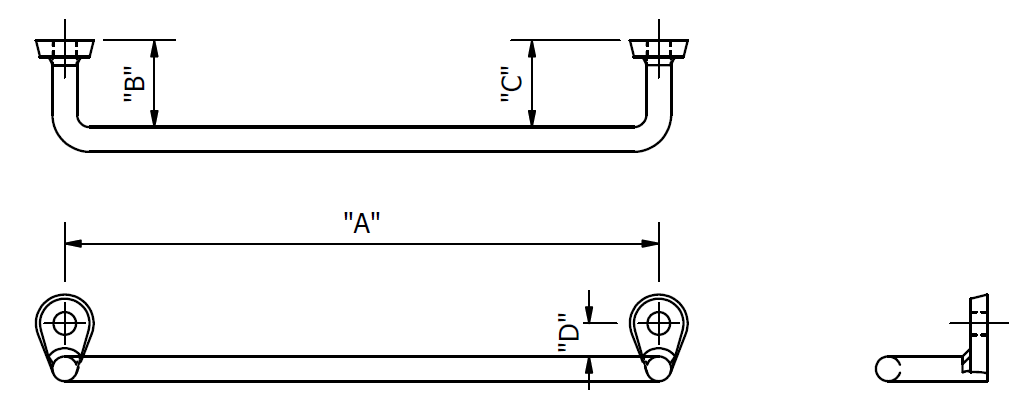
Handhold, Style 1